Главная О компании Оригинальные каталоги 57. Крыша кабины 61. Дверь боковая 68. Сиденья 82. Принадлежности кабины 42. Коробка отбора мощности 84. Оперение кабины 85. Платформа 86. Устройство подъемное 87. Метизы КАМАЗ 88. Автохимия, масла 89. Лампы 91. Подшипники 92. Сувенирная продукция КАМАЗ 94.Запасные Части к коробке Fast Gear 45. Лебедка 39. Инструмент и принадлежности 02. Запчасти 5490 23. Мост передний 03. ПРОДУКЦИЯ НПО РОСТАР 10. Двигатель 11. Система питания Гидроцилиндры 81. Вентиляция и отопление 50. Кабина 51. Основание кабины 52. Окно ветровое 53.Передок кабины 54. Боковина кабины 12. Система выпуска газа 13. Система охлаждения 16. Сцепление 17. Коробка передач 18. Раздаточная коробка 22. Валы карданные 24. Мост задний 38. Приборы 25. Мост промежуточный 27. Устройство седельное 28. Рама 29. Подвеска 30. Ось передняя 31. Колеса и шины 34. Управление рулевое 35. Тормоза 37. Электрооборудование 93. Каталоги КАМАЗ 56. Задок кабины Запасные части КАМАЗ РТИ Трубки Шланги 23.Мост 25.Редуктор главной передачи 29.Ходовая часть 31.Колесо 35.Тормозная система Запасные части для грузовых иномарок Запасные части МАЗ Запасные части на автобус НЕФАЗ Запасные части ТОНАР Запчасти на ось L1 Запчасти прицепа ось FUWA Запасные части ось прицепа 1201 Запасные части на прицепы и п/прицепы 12.Система выпуска газов 34.Рулевое управление Разное 18.Коробка раздаточная 23.Мост 25.Редуктор главной передачи 29.Ходовая часть 31.Колесо 35.Тормозная система РТИ Трубки Шланги Запасные части УРАЛ Гидропневмо-аккумуляторы Гидравлические распределители Гидравлические насосы 34. Управление рулевое 37. Электрооборудование Коробки отбора мощности Масло гидравлическое отечественное Запасные части гидравлического оборудования Запчасти SHACMAN/Shaanxi Запасные части для китайских грузовиков Каталог Прайс-листы Новости Контакты
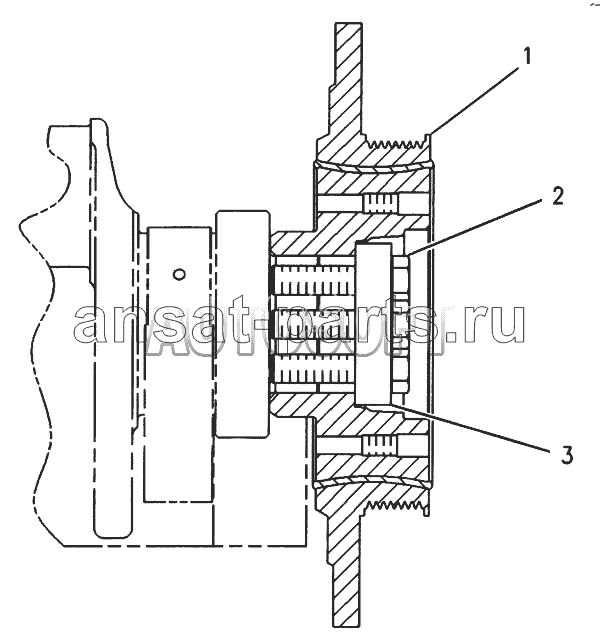
Каталоги запчастей к технике Двигатели Caterpillar Caterpillar-3116 111-7245 Шкив и демпфер zoom-in zoom-out enlarge shrink circle-right circle-left file-text2 info cart Позиция на иллюстрации Заводской номер детали Название детали Цена Купить 111-7245 111-7245 (найти в каталоге) DАМРЕR & РULLЕY GР Нет в продаже 1 110-0366 (найти в каталоге) DАМРЕR АS Нет в продаже 2 8Т-3666 (найти в каталоге) ВОLТ (М14) Нет в продаже 3 2W-7381 (найти в каталоге) WАSНЕR-СLАМР Нет в продаже Содержащиеся в справочниках-каталогах запасные части и детали не предлагаются к продаже, а носят исключительно информационный характер Дополнительная информация × Название: Номер: Примечание:
Контакт 1Филиал ООО "АвтоДеталиНЧ" в Краснодарском крае г. Набережные Челны, Пролетарский проезд, дом 5 +7 (917) 870-09-66 Пн-Пт: 09:00-17:00Сб, Вс - выходной Avtodetalinch@bk.ru