Оригинальные каталоги
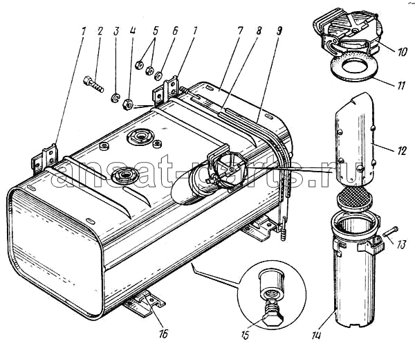
1
1
2
3
4
5
6
7
8
9
10
11
12
13
14
15
16
| Позиция на иллюстрации | Заводской номер детали | Название детали | Цена | Купить |
|---|---|---|---|---|
| 4310-1103080 | 4310-1103080 | Заглушка | Нет в продаже |
|
| 1/26469/01 | 1/26469/01 | Шайба плоская 12,6х28х3 | 21 ₽ |
|
| 5320-1101118 | 5320-1101118 | Усилитель | Нет в продаже |
|
| 5320-1103068 | 5320-1103068 | Рычаг пробки в сборе | Нет в продаже |
|
| 5320-1103010 | 5320-1103010 | Пробка топливного бака в сборе | 480 ₽ |
|
| 5320-1101102 | 5320-1101102 | Кронштейн крепления топливного бака в сборе | Нет в продаже |
|
| 5320-1103015 | 5320-1103015 | Корпус пробки в сборе | Нет в продаже |
|
| 1 | 5320-1101103 | Кронштейн | Нет в продаже |
|
| 2 | 1/55406/21 | Болт М12х1,25-6gх40 | 34 ₽ |
|
| 3 | 1/05170/77 | Шайба 12 пружинная | 8 ₽ |
|
| 4 | 1/61015/11 | Гайка М12х1,25-6Н | 18 ₽ |
|
| 5 | 1/216-17/11 | Гайка | Нет в продаже |
|
| 6 | 1/26386/01 | Шайба плоская 10,6х18х2 | 8 ₽ |
|
| 7 | 5410-1101010-10 | Бак топливный в сборе | Нет в продаже |
|
| 8 | 5320-1101110 | Хомут крепления топливного бака в сборе | Нет в продаже |
|
| 9 | 5320-1311068 | Прокладка хомута | Нет в продаже |
|
| 10 | 5320-1103070 | Облицовка пробки в сборе | Нет в продаже |
|
| 11 | 5320-1103075 | Прокладка пробки топливного бака | Нет в продаже |
|
| 12 | 5320-1101090-10 | Труба выдвижная топливного бака в сборе | Нет в продаже |
|
| 13 | 255141 | Заклепка 5х40.01.016 ОСТ 37.001.157-75 | Нет в продаже |
|
| 14 | 5320-1101060-10 | Трубка выдвижная наливной горловины | Нет в продаже |
|
| 15 | 1/43253/01 | Пробка резьбовая коническая 22х1,5 | 25 ₽ |
|
| 16 | 5320-1101109 | Прокладка кронштейна | 196 ₽ |
|
Содержащиеся в справочниках-каталогах запасные части и детали не предлагаются к продаже, а носят исключительно информационный характер