Оригинальные каталоги
2822-1602100-03
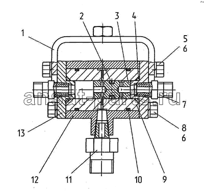
1
2
3
4
5
6
6
7
8
9
10
11
12
13
| Позиция на иллюстрации | Заводской номер детали | Название детали | Цена | Купить |
|---|---|---|---|---|
| 2822-1602100-03 | 2822-1602100-03 | Кран | Нет в продаже |
|
| 1 | 2822-1602110 | Кронштейн | Нет в продаже |
|
| 2 | 008-012-25-2-6 | Кольцо | Нет в продаже |
|
| 3 | 2822-1602104 | Поршень | Нет в продаже |
|
| 4 | 012-016-25-2-6 | Кольцо | Нет в продаже |
|
| 5 | М6х25 | Винт | Нет в продаже |
|
| 6 | 6Т | Шайба | Нет в продаже |
|
| 7 | 80-1701549 | Штуцер | Нет в продаже |
|
| 8 | М6х20 | Винт | Нет в продаже |
|
| 9 | 2822-1602102 | Корпус | Нет в продаже |
|
| 10 | 025-028-19-2-6 | Кольцо | Нет в продаже |
|
| 11 | 822-3503155 | Штуцер | Нет в продаже |
|
| 12 | 2822-1602101 | Корпус | Нет в продаже |
|
| 13 | 2822-1602103 | Крышка | Нет в продаже |
|
Содержащиеся в справочниках-каталогах запасные части и детали не предлагаются к продаже, а носят исключительно информационный характер