Оригинальные каталоги
 
              
          1        
              
          2        
              
          3        
              
          4        
              
          5        
              
          6        
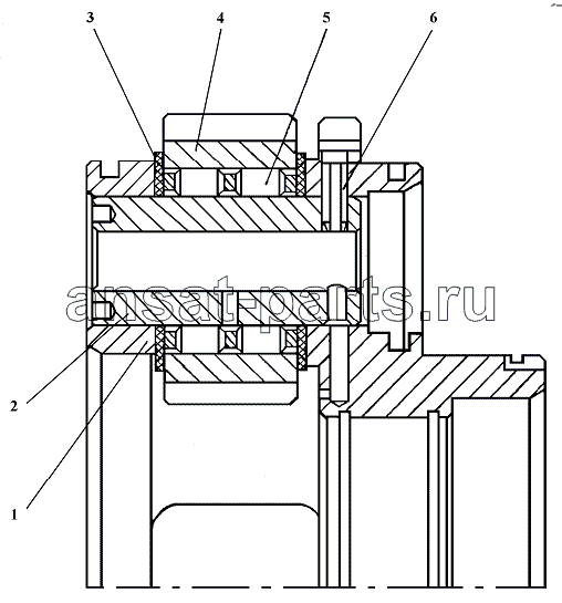
          | Позиция на иллюстрации | Заводской номер детали | Название детали | Цена | Купить | 
|---|---|---|---|---|
| 1101-12-103СП | 1101-12-103СП | Водило | Нет в продаже |  | 
| 1101-12-103-20СП | 1101-12-103-20СП | Водило | Нет в продаже |  | 
| 1 | 1101-12-9 | Водило | Нет в продаже |  | 
| 2 | 1101-12-28 | Ось | Нет в продаже |  | 
| 3 | 312001-90-36 | Кольцо упорное | Нет в продаже |  | 
| 4 | 1101-12-25 | Сателлит | Нет в продаже |  | 
| 5 | 252806 | Подшипник 252806 | Нет в продаже |  | 
| 6 | 1101-12-111СП | Штифт | Нет в продаже |  | 
Содержащиеся в справочниках-каталогах запасные части и детали не предлагаются к продаже, а носят исключительно информационный характер
